Pojazdné dielenské zdviháky Compac 2T-HC
Pojízdné dílenské zvedáky s nosností 2 t mají vysoký zdvih, nízkou konstrukční výšku, 3 typy koleček a spolehlivou hydrauliku s ochranou proti přetížení.- extrémně nízká konstrukční výška, malá výška zvedacího talíře v nejnižší poloze (jen 77 mm!) a navíc dlouhý podvozek zvedáku umožňují najetí zvedáku i pod vozidla s velmi nízkým podvozkem (např. sportovní automobily apod.)
- vysoký zdvih
- zvedání i spouštění vozidla se provádí vodicí / ovládací tyčí, zrychlené zvedání do polohy prvního kontaktu s vozidlem nožním pedálem
- pro obsluhu příjemná ergonomická rukojeť s bezpečnou pojistkou proti nechtěnému spuštění (systém vyžaduje zvednutí tyče a otočení)
- spouštěcí systém umožňuje spouštění vozidla různou rychlostí podle volby obsluhy
- bezpečnostní regulační ventil spouštění pro bezpečné spouštění i při maximální zátěži
- vestavěný přetlakový ventil zabraňuje přetížení
- vysoce odolná a tichá kolečka z nylonu (2T-HC) / tvrzené pryže (2T-HC HRW) / polyuretanu (2T-HC Bogie PU)
- robustní plně svařovaná konstrukce z vysoce kvalitní oceli
- kvalitní, antikorozní a mechanicky odolná prášková povrchová úprava
- velmi dlouhá životnost, provozní spolehlivost a minimální nároky na údržbu
- vysoká kvalita zaručená renomovaným dánským výrobcem
- na celou řadu dánských zvedáků Compac se poskytuje záruka 3 roky!
Typy koleček:
2T-HC - kolečka z nylonu
2T-HC HRW - kolečka z tvrzené pryže / gumy
2T-HC Bogie PU - vpředu zdvojená / tandemová kolečka z polyuretanu
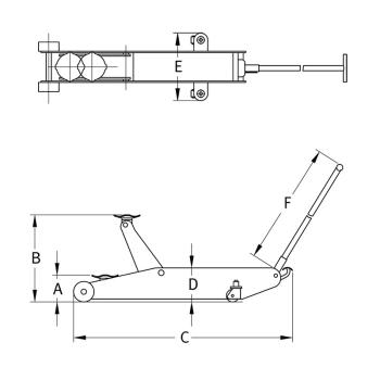
Technické parametry
| Nosnost | 2 t |
|---|---|
| Minimální výška (A) | 98 mm |
| Maximální výška (B) | 735 mm |
| Délka podvozku (C) | 1035 mm |
| Konstrukční výška (D) | 200 mm |
| Šířka (E) | 380 mm |
| Délka ovládací tyče (F) | 1045 mm |
| Hmotnost | 56 kg |
Volitelné příslušenství:
1002LF - gumová opěrka





